方向盘可左右滑动并切换沃尔沃“魔术方向盘”专利曝光
方向盘可左右滑动并切换?沃尔沃“魔术方向盘”专利曝光!
◀◀◀点击图片进入游戏————◀◀◀◀———点击图片进入游戏———网上赌博网站,赌博网站,真钱赌博网站
目前的自动驾驶汽车技术还远未准备好迎接黄金时代,还要面临着漫长的炼狱阶段。
目前的自动驾驶技术实际上还不够完善,不足以让驾驶者完全放心安全的驾驶。
考虑到这一特殊时期,沃尔沃已经构思并申请了一项可调节驾驶位置的专利,这将是右舵和左舵驾驶之间转换最简单的方式。

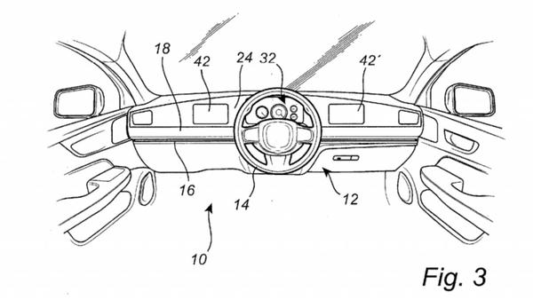
在沃尔沃最近提交给美国专利和商标局(USPTO)的专利申请中可以看到,它有着一个奇特可滑动的方向盘,可以从中控台的一边滑到另一边,允许左、右驾驶。


沃尔沃的滑动线控方向盘系统是为高度自动驾驶(非完全自动化)汽车设计的,允许让驾驶者从前排任何一个座位控制汽车。
这项专利将方向盘置于轨道上,同时为仪表盘集群提供了两种解决方案——一个位于方向盘后面的仪表跨屏界面,或者一个可以与方向盘一起滑动的小屏幕。


专利还描述了由压敏地板传感器激活并控制的刹车和油门。
进一步挖掘专利会发现,方向盘在居中的位置也是可能的,这意味着驾驶员可以坐在中间的座位,两侧或许可以乘坐其他人。
该专利还提到为前排座位和挡杆设计的导轨系统。




这种前排变换驾驶座位控制车辆的想法并不奇怪。
不过,沃尔沃的思路走在了前面。
零人工的全自动驾驶汽车要成为现实,至少还需要几年,甚至几十年的时间。
即使是高度自动驾驶的汽车要大规模生产,汽车制造商和科技公司仍然需要解决非常多技术问题。
而沃尔沃的“魔术方向盘”不太可能很快面世。
本文来源于汽车之家车家号作者,不代表汽车之家的观点立场。
方向盘可左右滑动并切换?沃尔沃“魔术方向盘”专利曝光!
Comments
Post a Comment